Rehabilitación de bancos de generadores eléctricos de potencia para conversión de energı́a hidráulica

Rehabilitación de bancos de generadores eléctricos de potencia para conversión de energı́a hidráulica


Rehabilitation of electric power generator banks for hydropower conversion


Mairim MárquezORCID logo1

Adriana MárquezORCID logo2

Bettys Farı́asORCID logo3

Edilberto GuevaraORCID logo4

Sergio PérezORCID logo5

Universidad de Carabobo, Carabobo, Venezuela1, 2, 3, 4,5

mmarquer@uc.edu.ve1

ammarquez@uc.edu.ve2

bfarias@uc.edu.ve3

eguevara@uc.edu.ve4

sperez@uc.edu.ve5

Fecha de recepción: 23/03/2024
Fecha de aceptación: 26/09/2024
Pág: 112 – 141
DOI: 10.5281/zenodo.18164791

Resumen

El presente trabajo trata sobre la reactivación de tres bancos de pruebas de generadores eléctricos de alta, media y baja potencia para conversión de energı́a hidráulica en el Laboratorio de Hidráulica de la Universidad de Carabobo. El método consta de tres etapas: i ) Descripción de tres generadores eléctricos de alta, media y baja potencia para conversión de energı́a hidráulica, ii) Rehabilitación de tres generadores eléctricos de alta, media y baja potencia para conversión de energı́a hidráulica y iii) Evaluación de ı́ndices de desempeño de alta, media y baja potencia para conversión de energı́a hidráulica. Los resultados indicaron que para el generador eléctrico de baja potencia, el ángulo de posición de las aletas distribuidoras como factor experimental tuvo un efecto significativo en las variables de respuesta estudiadas. Con respecto al generador eléctrico de media y alta potencia, el factor que más influyó en el funcionamiento y generación de energı́a fue el caudal suministrado.

Palabras clave: energı́a hidráulica, generadores eléctricos de potencia, turbomaquinaria, turbina Kaplan, turbina Pelton, turbina Francis.



Abstract

This paper deals with the reactivation of three test benches of high, medium and low power electric generators for hydraulic energy conversion in the University of Carabobo Hydraulic Laboratory. The method involves three stages: i) Description of three high, medium and low power electric generators for hydraulic energy conversion, ii) Rehabilitation of three high, medium and low power electric generators for hydraulic energy conversion and iii) Evaluation of performance indexes of high, medium and low power electric generators for hydraulic conversion. The results indicate that for the low power electric generator, the position angle of the distributor blades as an experimental factor has a significant effect on the response variables studied. With respect to the medium and high power electric generator, the most influential factor on operation and power generation is the flow supplied.

Key words: hydraulic energy, Francis turbine, Kaplan turbine, Pelton turbine, power electric generators, turbomachinery.



Esta obra está bajo licencia CC BY-NC-SA 4.0


Introducción


En Venezuela, donde la principal fuente de energı́a eléctrica es de origen hı́drico y representa aproximadamente el 60 % de la producción total del paı́s (Ministerio del Poder Popular para la Energı́a Eléctrica, 2024), es fundamental educar a la población sobre la generación y ahorro de este recurso e implementar planes para el uso de cualquier fuente alternativa que contribuya a preservar el medio ambiente y la vida en el planeta (Observatorio Regional de Planificación para el Desarrollo de América latina y el Caribe, 2024).

Venezuela está comprometida constitucional e internacionalmente con el desarrollo de tecnologı́as que funcionen con energı́as limpias o renovables. Por ello, el Estado a nivel energético se ha fijado las siguientes metas: Concientizar sobre el uso racional y eficiente de la electricidad; mejorar la distribución, mantenimiento y generación del sistema eléctrico nacional; completar las centrales hidroeléctricas ya iniciadas; trabajando en nuevos proyectos eléctricos de baja, media y alta generación, ası́ como invertir en programas educativos, de investigación, modernización de laboratorios, entre otros.

En el laboratorio de hidráulica Elı́as Sánchez Dı́az, de la Escuela de Ingenierı́a Civil de la Universidad de Carabobo, se encuentran tres (3) bancos de turbinas que estuvieron inoperativos por más de 40 años, por falta de recursos económicos para su mantenimiento. La reactivación de estos bancos de turbinas es un proyecto apoyado por el Fondo Nacional de Ciencia, Innovación y Tecnologı́a (FONACIT), mediante el contrato Nº 201400331, adscrito al Ministerio del Poder Popular para Ciencia y Tecnologı́a, a través del cual estudiantes adscritos al Centro de Investigaciones Hidrológicas y Ambientales de la Universidad de Carabobo y pertenecientes a las Escuelas de Ingenierı́a Mecánica, Eléctrica y Civil de la Universidad de Carabobo, quienes desarrollaron trabajos especiales para la obtención del tı́tulo académico y contribuir a la reactivación de los bancos de generadores eléctricos de baja, media y alta potencia para conversión de energı́a hidráulica en el Laboratorio Hidráulico de la Universidad de Carabobo, logrando cumplir satisfactoriamente el propósito.

Esta investigación tiene como objetivos: i) Describir tres generadores eléctricos de alta, media y baja potencia para conversión de energı́a hidráulica, ii) Rehabilitar tres generadores eléctricos de alta, media y baja potencia para conversión de energı́a hidráulica y iii) Evaluar ı́ndices de desempeño de generadores eléctricos de alta, media y baja potencia para conversión hidráulica.


Materiales y métodos


Descripción de tres generadores eléctricos de baja, media y alta potencia para conversión de energı́a hidráulica

Descripción de banco generador eléctrico de baja potencia para conversión de energı́a hidráulica

El banco de generador eléctrico de baja potencia, cuyo componente principal es la turbina Kaplan, es una tecnologı́a que surge debido a la explotación económica de saltos cada vez menores con caudales cada vez mayores, la cual ha sido la tendencia de los grandes constructores de turbinas hidráulicas desde 1920, en cuya fecha las turbinas hidráulicas más rápidas eran turbinas Francis de velocidad especı́fica ns = 400 (Mataix, 1975, 1986). Esta tendencia se explica por el enorme potencial que poseen rı́os en los últimos kilómetros más próximos a su desembocadura, donde tienen lugar los grandes caudales, generalmente en terrenos de llanuras (Mataix, 1975). Estos saltos de gran caudal y de altura muy pequeña son hoy dı́a aprovechables, incluso con alturas de 1 m, gracias a las turbinas hidráulicas modernas rápidas o de elevado ns. La adaptación gradual de la turbina Francis a ns cada vez mayores conduce insensiblemente a un nuevo tipo de turbina hidráulica de reacción, en la que los álabes tienen forma de paletas o hélices de avión, de donde el nombre de turbina de hélice con que se conocen estas turbinas. En efecto, al aumentar ns, es decir al adaptar el rodete para una misma velocidad de rotación n a caudales crecientes Q y a cargas netas H decrecientes, el flujo en el rodete como enseña la experiencia ha de ser cada vez más axial, para terminar siendo axial, al paso que los álabes se van haciendo cada vez más cortos, al tener que transformar menos energı́a especı́fica. Una caracterı́stica negativa de las turbinas hélice, es el bajo rendimiento de las mismas a cargas distintas de la nominal, para la cual la turbina ha sido diseñada.

El Profesor Kaplan, ensayando con un modelo de turbina hélice, llegó a la conclusión de que el rendimiento bajo, que caracteriza a estas turbinas a cargas parciales, a través de su curva de rendimiento en forma de gancho, podrı́an mejorarse construyendo una turbina con álabes orientables en conformidad con el caudal, desarrollando ası́, la turbina Kaplan que lleva su nombre. Las turbinas Kaplan han desplazado por completo a las turbinas hélice, porque aunque su precio es mucho más elevado, a causa del mecanismo de orientación de los álabes, que exige dos servomotores, dos válvulas de distribución de aceite y el combinador, su curva de rendimiento es una curva plana, y su rendimiento a cargas intermedias, es superior no sólo al de las turbinas hélice, sino al de todas las turbinas Francis, y su curva de rendimiento es sólo comparable con las “curvas planas” caracterı́sticas de la Turbina Pelton (Mataix, 1975, 1986).

En el diagrama esquemático que se muestra en la Figura 1, el agua requerida para el funcionamiento del generador eléctrico de banco de baja potencia (GEBP) (turbina Kaplan), se suministra a través de la lı́nea L1 y es controlada por la válvula (V1), ambas están ubicadas en la parte superior de la torre de estabilización de flujo (FST). La torre de estabilización de flujo contiene una lı́nea vertical de flujo (Ld), que está abierta a la atmósfera y se utiliza para liberar masas de aire atrapadas en los conductos durante el llenado y las pruebas en el banco de turbina Kaplan.

La válvula (Vd) controla el drenaje del sistema de tuberı́as del GEBP. Los manómetros P1 y PAP O miden la presión positiva en la entrada de la turbina y en la salida de la bomba axial. P0 y PAP I son vacuómetros que miden presiones negativas (vacı́o).

En el tramo de tuberı́a que representa la succión de la turbina se instaló una placa orificio (OP), conectada a un banco piezométrico diferencial de Mercurio (Hg). En OP se produce una caı́da de presión ∆P , que se lee directamente en el piezómetro diferencial.

La turbina Kaplan (KT) está equipada con un freno Prony (PB) y un dinamómetro de resorte (D), para medir la potencia del eje durante las pruebas. También incluye un sistema de refrigeración por agua (Lr), que evita el sobrecalentamiento de los cojinetes y sellos de la turbina.

La bomba que transmite la energı́a al agua es de flujo axial, convierte la energı́a mecánica en energı́a hidráulica, que luego se transfiere al fluido para permitir su transporte hasta los ductos en la entrada de la turbina. La bomba está accionada por un motor eléctrico de 30 Hp, equipado con un tacómetro n y un torquı́metro T (ambos analógicos), que miden las revoluciones (rpm) y el par del motor.

Figura 1: Diagrama esquemático del banco de pruebas de generador eléctrico de baja potencia (turbina Kaplan) del Laboratorio de Hidráulica de la Universidad de Carabobo.

Leyenda
KT: Turbina Kaplan T: Medidor de par del motor
FST: Torre de estabilización de flujo n: Tacómetro del motor
AP: Bomba de flujo axial LP : Conducto principal de fibra de vidrio en Ø 12”
PB: FrenoProny en el KT L1 : Lı́nea de suministro de agua al banco de pruebas KT
PBD: Dinamómetro de freno Prony Ld : Liberación de aire dispositivo
∆P : Piezómetro de mercurio Lr : Lı́nea de enfriamiento de PB
OP: Placa de orificio Vr : Válvula de refrigeración de PB
Pi: Manómetro de entrada del KT V1 : Válvula de llenado del banco de pruebas KT
Correos: Manómetro de salida del KT Vd : Válvula de drenaje del banco de pruebas KT
PAPO : Manómetro de salida de bomba axial P: Flujo de agua del banco de pruebas KT
PAPI : Manómetro de entrada de bomba axial Motor: Conducción a motor hasta el AP

Los valores de caudal, carga hidráulica y velocidad de rotación, todos referidos al punto nominal, se obtuvieron de las certificaciones de los equipos proporcionadas desde el fabricante del banco (Gilkes & Gordon LTD), que se describen en la Tabla 1. En cuanto a los componentes principales se muestran en las Figuras 1 – 2.

Carcasa de la Turbina Kaplan (Tabla 1): está fabricada en hierro fundido y su función es conducir el agua por toda la periferia del impulsor con la ayuda de las aletas fijas o difusor. La carcasa cuenta con ocho (8) aspas fijas, de perfil aerodinámico, con el fin de reducir las pérdidas en la entrada al distribuidor. La carcasa está instalada horizontalmente, con un diámetro nominal de 15 in. (0.38 m), en la entrada y un diámetro de 8 ¼ in (0.21 m), en la salida (entrada del tubo de succión).

Aletas distribuidoras móviles (Tabla 1): son las paletas guı́a móviles que conforman el distribuidor de la turbina Kaplan, cuya función es orientar y controlar el flujo que ingresa al impulsor.

Turbina Kaplan Gilkes 5960 (Tabla 1, Figura 2): está compuesto por ocho (8) álabes móviles de perfil en curva positiva,distribuidos alrededor del impulsor en forma cilı́ndrica. Estas palas están controladas por un anillo regulador (4) que las hace girar todas simultáneamente a través de un mecanismo formado por bridas, bielas y manivelas (3). Todos estos elementos están conectados entre sı́ mediante pequeños conductos provistos de engrasadores (axialmente) y mediante tornillos (radialmente). La turbina dispone de un distribuidor cilı́ndrico de palas giratorias, que se pueden mover manualmente a través de la rueda reguladora (6). La entrada de agua a la turbina se controla girando el volante regulador (11), que mueve la guı́a del volante y, a su vez, el anillo regulador que, a través del mecanismo de biela y manivela (3), cierra o abre las aletas móviles del distribuidor. El funcionamiento de las posiciones de apertura del distribuidor es el siguiente: 1 in.- 1 1/8 in.- 1 1/4 in.-1 3/8 in.- 1 1/2 in.- 1 5/8 in.- 1 3/4 in. -1 7/8 in.- 2 in.- 2 1/8 in.- 2 1/4 in.- 2 3/8 in. -2 1/2 in.

Tipo de turbina Kaplan con distribuidor cilı́ndrico de aletas giratorias
Caso Hierro fundido con un diámetro aproximado de 1,1 m.
Eje Eje de acero inoxidable en posición vertical.
Impulsor, palas y punta cónica. Bronce
Salto o altura nominal (Hn) 10 pies = 3,04 m
Caudal Nominal (Qn) 1470 GPM = 0,0926 m3/s
Potencia de frenado (eje P) 3.56 CV = 2,65 kW
Velocidad de rotación (N) 1070 rpm
Número especı́fico de revoluciones (Ns) 509
Diámetro del impulsor de la turbina 8 in. = 203,2 mm
Número de palas del impulsor (Z) 4
Diámetro del impulsor 3 ½ in. = 90 mm
Número de aletas distribuidoras o paletas móviles 8
Aperturas del colector de turbina 1 in.- 1 1/8 in.- 1 1/4 in.-1 3/8 in.- 1 1/2 in.- 1 5/8 in.- 1 3/4 in.-1 7/8 in.- 2 in.- 2 1/8 in.- 2 1/4 in.- 2 3/8”-2 1/2 in.
Diámetro de entrada de la turbina 15 in. = 381 mm
Diámetro de salida de la turbina 8 1/4 in. = 209,5 mm
Número de paletas de carcasa fija (Difusores) 8
Ángulos de rotación de las palas del rotor. -5º, 0º, 5º, 10º, 15º, 20º, 25º, 30º y 35º
Distancia entre ejes de las palas móviles del distribuidor 12 in. = 305 mm
Altura de las paletas del distribuidor 4 in. = 101,8mm

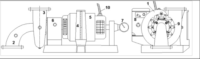
Componentes de la turbina Kaplan
1. Aletas móviles del distribuidor 8. Palas de turbina
2. Aletas fijadas al estuche 9. Eje de turbina
3. Manivelas distribuidoras 10. Freno de turbina Prony
4. Anillo regulador del distribuidor 11. Guı́a de apertura del distribuidor graduada
5. Vástago del anillo regulador 12. Tambor graduado para girar las palas
6. Volante del anillo regulador 13. Dinamómetro
7. Carcasa de la turbina 14. Masas de freno Prony

Figura 2: Componentes de la turbina Kaplan Gilkes 5960 del banco de pruebas del generador de baja potencia, Laboratorio de Hidráulica de la Universidad de Carabobo (UC).


Descripción de banco generador eléctrico de media potencia para conversión de energı́a hidráulica

En el banco de pruebas del generador eléctrico de media potencia, el principal componente es la Turbina Francis. Según Mataix (1975, 1986), la turbina hidráulica Francis se encuentra dentro de la categorı́a de turbinas semiaxiales, diagonales o de flujo mixto. La Turbina Francis es la turbina hidráulica de instalación más frecuente porque cubre la gama de alturas netas (10 a 1000 m), caudales (1 a 200 m3 /s) y potencias más usual. En los últimos años se han observado las siguientes tendencias (Mataix, 1975, 1986): 1) En los saltos de poca altura, la turbina Francis es reemplazada por la turbina Kaplan. 2) En los saltos de gran altura la Turbina Francis invade el campo reservado para la Turbina Pelton. 3) Tendencia a las mayores potencias, en 1939 se instalaron 4 turbinas Francis de 84600 kW de potencia unitaria en la central de Sangari Manchuria. En 1970, las Turbinas Francis de mayor potencia del mundo correspondı́an a la central de Gran Coulee, USA, instalada en un salto de 87 m, girando a 62 rpm y con una potencia unitaria de 600 MW.

En general, en el sistema de generador eléctrico de media potencia (Turbina Francis), el agua llega a la cámara espiral, voluta o caracola, encargada de distribuir de forma uniforme el caudal por medio de un conducto circular de diámetro decreciente que envuelve al rotor describiendo una espiral y de este modo alimenta el distribuidor de forma simétrica. En el distribuidor, el agua se orienta y el caudal se regula por medio de una corona fija de álabes convergentes dispuestos en pares que se mueven de forma sı́ncrona. Las palas del rotor están dispuestas de manera que el agua circula entre ellas. La presión del agua hace que al salir en un determinado ángulo, la reacción a la fuerza del agua haga girar el rotor.

El banco de pruebas del generador eléctrico de media potencia (Turbina Francis) está provisto de un sistema de recirculación de agua común con el del generador eléctrico de alta potencia (Figura 3). Para la ejecución de las diferentes pruebas en la turbina Francis se deben mantener abiertas las válvulas V1 y V3 , mientras que las válvulas V2 y V4 se deben mantener cerradas. La turbina Francis lleva incorporado un motor-generador (G), el cual es controlado desde un panel de control, en el cual se puede observar el voltaje y corriente consumidos o producidos durante la prueba. La bomba B transfiere la energı́a al agua (Figura 3), haciéndola fluir hacia el sistema o red de tuberı́as del banco a través de las lı́neas L1, L2, L3 y L4. El agua adquiere la presión y altura suficiente para realizar las diferentes pruebas en las turbinas. La bomba es alimentada por el tanque T1, que debe estar lleno al 80 % antes de poner en marcha la bomba.

Los diez componentes principales que componen la turbina Francis se muestran en la Figura 4, que involucran 1) cámara espiral, 2) tubo de succión de la turbina, 3) tubo de entrada de la turbina, 4) medidor de torsión, 5) motor-generador, 6) gobernador. caja de transmisión, 7) tacómetro, 8) gobernador hidráulico, 9) distribuidor tipo Fink y 10) conexión eléctrica.

Cámara espiral y predistribuidor (Figura 3): la cámara espiral o voluta de la turbina Francis está fabricada en hierro fundido y su función es guiar el agua por toda la periferia del impulsor con la ayuda de un órgano fijo llamado predistribuidor. distribuidor (Figura 3). El predistribuidor está compuesto por diez (10) palas fijas o de perfil aerodinámico, con el fin de reducir las pérdidas en la entrada al distribuidor. La cámara espiral está instalada en posición vertical, con un diámetro nominal en la entrada es de 4 in. (0.1016 m) y en la salida tiene un diámetro de 3 in (0.0762 m) (entrada del tubo de succión).

Distribuidor (Figura 3): el distribuidor de la turbina Francis es el conjunto de paletas guı́a móviles que guı́an y controlan el flujo que ingresa al impulsor y puede variar entre 10 a 21 paletas. La turbina Gilkes 5962 cuenta con un Distribuidor tipo Fink, compuesto por diez (10) palas móviles con perfil de curva positiva y distribuidas alrededor del impulsor en forma cilı́ndrica (Figura 3). Estas palas están controladas por un anillo regulador que las hace girar todas simultáneamente a través de un mecanismo formado por bridas, bielas y manivelas.

Todos estos elementos están conectados entre sı́ mediante pequeños conductos provistos de engrasadores (axialmente) y mediante tornillos (radialmente).

Leyenda
PT: Banco de pruebas de turbinas Pelton Ls :Lı́nea para suministrar agua al banco
FT: banco de pruebas de turbinas Francis L 4:Lı́nea de descarga del sistema
B: Bomba centrı́fuga D: Dinamómetro para medir el par del eje del KT
OP 1 : Placa de orificio para medir la caı́da de presión en la lı́nea L4 V1 ,V2 ,V3 ,V4 :Válvula que controla el llenado del banco
OP 2 : Placa de orificio para medir la caı́da de presión en la lı́nea L1 VR: Válvula de refrigeración por agua para el freno Prony
δHg: Piezómetro de mercurio del sistema N: Nivel del tanque T2
Pe: Manómetro en la entrada de la Turbina Pelton T: Medidor de par motor
PB: Dispositivo para medir la potencia al eje tipo freno Prony Lr :Lı́nea de refrigeración por agua de frenos Prony
Aliviadero: aliviadero del tanque T2 G:generador de la turbina Francis
L1: Bomba lı́nea de descarga vs :Válvula de control de llenado del tanque T2
L2, L3:Lı́neas de aducción de agua a turbinas Vd1, Vd2 :Válvula de drenaje para tanques T1 y T2
T1 : Tanque principal que alimenta la bomba n :Tacómetro para medir rpm del motor
T2 :Tanque de descarga de la turbina Francis

Figura 3: Diagrama esquemático de los bancos de pruebas de los generadores eléctricos de alta potencia (turbina Pelton) y media potencia (turbina Francis) en el Laboratorio de Hidráulica de la Universidad de Carabobo.


Eje de turbina Francis (Figura 3): el eje es el elemento diseñado para soportar los momentos de torsión provocados por la transformación de la energı́a hidráulica a mecánica, ası́ como para soportar el impulsor y piezas auxiliares para que el funcionamiento de la turbina sea óptimo. Entre los elementos auxiliares que se se encuentran fijados en el eje se hallan: la tuerca de cabeza redonda y la cuña (sujeta al eje del impulsor), el sello mecánico y otros. El eje está fabricado en acero inoxidable y posteriormente mecanizado. Descansa sobre dos cojinetes de bolas, uno que está sujeto a la parte trasera de la caja de engranajes del regulador y el otro al pedestal del extremo del generador (parte trasera del generador).

Impulsor de turbina Francis (Figuras 5-6): El impulsor de turbina Francis Gilkes 5962 se usa comúnmente con palas curvadas hacia atrás. Sus valores de diseño se resumen en la Tabla 2.

Componentes de la turbina Francis
1. Cámara espiral 6. Caja de transmisión del gobernador
2. Tubo de succión de turbina 7. Tacómetro
3. Tubo de entrada de turbina 8. Gobernador hidráulico
4. Medidor de torsión 9. Distribuidor tipo Fink
5. Motor-generador 10. Conexión eléctrica

Figura 4: Componentes de la turbina Francis en el banco de pruebas.


Tabla 2: Caracterı́sticas de la turbina Francis del banco de pruebas del Laboratorio Hidráulico de la Universidad de Carabobo.

Proceso de fabricación Fundido y posteriormente mecanizado
Material Bronce
Diámetro externo 6 in.= 152.4 mm
Diámetro de salida 3 in.=76.2 mm
Número de palas 9
espesor de pared 5.3 mm
Altura de salida: 1 in.= 25.4 mm

Descripción de banco generador eléctrico de alta potencia para conversión de energı́a hidráulica

El banco generador eléctrico de alta potencia para conversión de energı́a hidráulica contiene entre sus principales componentes a la turbina Pelton. Las turbinas Pelton denominadas también turbinas de impulsión o de chorro libre, son las únicas turbinas hidráulicas de acción que se construyen en la actualidad en grandes potencias. La primitiva patente del americano Pelton contenı́a ya todos los elementos esenciales de estas turbinas, cuyo perfeccionamiento, logrado con numerosas investigaciones experimentales ha conducido a las modernas turbinas Pelton (Mataix, 1975, 1986). El distribuidor de las turbinas Pelton se conoce como inyector, que consta esencialmente de una tobera y de una válvula de aguja. En la tobera se acelera el agua, transformándose prácticamente toda la altura neta de la turbina en altura cinética de chorro, salvo las pérdidas en el eyector mismo. La potencia de la turbina se regula como en las restantes turbinas hidráulicas, variando el caudal. Éste en las turbinas Pelton se varı́a mediante el desplazamiento rectilı́neo de la válvula de aguja, que realiza atomáticamente el pistón del servomotor de aceite a presión. El chorro entra en los álabes del rodete, que en esta turbina por la forma especial de los álabes que poseen, se denominan cucharas, que a la presión atmosférica, cede en ellas prácticamente toda la energı́a, y sale del rodete a velocidad mı́nima y a presión atmosférica, cayendo por su propio peso al nivel de aguas abajo (Mataix, 1975, 1986).

El banco generador eléctrico de alta potencia para conversión de energı́a hidráulica tiene capacidad para realizar las diferentes pruebas a esta turbina, V1 y V2 deben mantenerse abiertas, mientras que V3 y V4 permanecen cerradas. La turbina Pelton ha incorporado varios instrumentos y dispositivos (por ejemplo, freno Prony, dinamómetro y tacómetro) para recopilar datos para la construcción de gráficos que representen la velocidad de rotación de la rueda versus el caudal, la altura neta versus el caudal, la potencia de frenado versus la velocidad de rotación de la rueda, la eficiencia versus la velocidad de rotación de la rueda.

En la Figura 5 se muestran los componentes de la turbina Pelton que intervienen directamente en la transformación de la energı́a hidráulica en energı́a mecánica, incluyendo como componentes principales a los siguientes (Márquez y Salazar, 2016) 1) Impulsor o Rueda, 2) Carcasa, 3) Lanza, 4) Boquilla, entre otros.

Impulsor de la turbina Pelton (Figura 5): El impulsor de la turbina Pelton consta de la rueda y el cangilón que conforman el impulsor como se muestra en la Figura 5. La rueda está construida en bronce fundido, posteriormente mecanizada para un diámetro promedio de 390 mm (0.39 metros). Hay 24 cangilones, fijados en la periferia de la rueda circular, que está montada sobre un eje horizontal. En la turbina Pelton, la boquilla lanza a alta velocidad un chorro de fluido con un diámetro nominal de 36 mm sobre los cangilones.

Carcasa de la turbina Pelton (Figura 5): Es la caja metálica que cubre los inyectores, impulsor y demás elementos mecánicos de la turbina. Su función es evitar que el agua salpique hacia el exterior cuando, tras impactar en las palas, sale de ellas. Está montado sobre una placa de acero provista de un faldón de drenaje en la parte inferior que guı́a el agua hacia el interior del depósito.

Distribuidor de entrada a la turbina Pelton (Figura 5): Consiste en la prolongación de la tuberı́a forzada que conduce el flujo de agua al impulsor (Márquez y Salazar, 2016; Márquez et al., 2016). Se fija a la carcasa mediante bridas de unión y es la que soporta los demás mecanismos que regulan la velocidad de giro de la turbina (boquilla, lanza, cruceta, varilla de lanza, volante y otros).

Eje de la turbina Pelton (Figura 5): el eje de la turbina es de acero al carbono, colocado de manera horizontal y unido rı́gidamente al impulsor (cuña y tuerca) y debidamente ubicado sobre cojinetes únicamente en el extremo interior (tipo cantilever) debidamente lubricados. Para medir la potencia sobre el eje, lleva incorporado un freno tipo Prony y un dinamómetro.

Componentes de la turbina Pelton
1. Impulsor o rueda 9. Manómetro Bourdon
2. Caja 10. Boquilla de freno
3. Lanza 11. Bypass para drenaje de empaque
4. Boquilla 12. Volante de varilla de lanza
5. Cruz guı́a de varilla de lanza 13. Guı́a de apertura de boquillas
6. Caña de lanza 14. Válvula reguladora de flujo a la turbina Pelton
7. Distribuidor 15. Tuberı́as del sistema
8. Deflector fijo

Figura 5: Componentes de la turbina Pelton Gilkes 5961 del banco de pruebas del Laboratorio Hidráulico de la Universidad de Carabobo.


Rehabilitación de tres generadores eléctricos de alta, media y baja potencia para conversión de energı́a hidráulica

Las etapas de la rehabilitación involucradas para la realización de acciones de restauración y mejora de cuatro sistemas fueron (Márquez y Salazar, 2016): 1) sistema de suministro de energı́a eléctrica para los bancos de las tres turbinas, 2) sistema de abastecimiento de agua para los bancos de las tres turbinas, 3) banco de pruebas de turbina Kaplan y 4) bancos de pruebas de turbinas Pelton y Francis.

  1. Sistema de alimentación eléctrica para tres bancos de turbinas
  2. La rehabilitación del sistema de suministro de energı́a eléctrica para bancos de turbinas implicó tres acciones principales: 1) Instalación de un nuevo tablero NAB 412 para incorporar disyuntores trifásicos de 100 A. El nuevo panel ubicado dentro de la zona de laboratorio tiene como objetivo permitir la desactivación rápida y segura de los bancos de turbinas en caso de fallo. 2) Instalación de un circuito de diez (10) salidas monofásicas para su uso en el suministro de la instrumentación electrónica de monitoreo y control prevista en las prácticas en los bancos de turbinas. Este circuito estará conectado al tablero principal del laboratorio. 3) Reemplazo de 40 lámparas fluorescentes encontradas en el área del banco de turbinas.



  3. Sistema de suministro de agua para tres bancos de turbinas
  4. El sistema de suministro de agua para los bancos de las turbinas Pelton y Francis requirió la instalación de un complemento de tuberı́a plástica de diámetro 0.0508 m (2 in.), para la alimentación de los bancos (Figura 6). Con respecto al banco de pruebas de la turbinas Kaplan, el complemento que se instaló hacia el banco de turbinas Kaplan se conectó en la parte superior de la torre estabilizadora, que es donde se encuentra la entrada a la tuberı́a de este banco de pruebas (Figura 6).



Rehabilitación de banco generador eléctrico de baja potencia para conversión de energı́a hidráulica

La rehabilitación del banco generador eléctrico de baja potencia para conversión de energı́a hidráulica implicó los siguientes mantenimientos: a) Mantenimiento y pruebas eléctricas en el panel de control y unidad motora del banco de turbinas, b) Mantenimiento mecánico de la unidad de bombeo (bomba axial), c) Mantenimiento general de la ducterı́a del banco, d) Mantenimiento mecánico de la turbina Kaplan, e) Reemplazo e incorporación de instrumentos de control y medición: manómetros, mangueras, válvulas y otros componentes en el banco de la turbina Kaplan, f) Mantenimiento de la placa de orificio, grifos, válvulas y colocación del banco piezométrico, g) Colocación de tuberı́as y válvulas de control de suministro y drenaje de agua en el banco, h) Instalación de mirillas en la torre de estabilización, i) Establecimiento del rango de presión de los manómetros y vacuómetros que son utilizados en el banco.

Figura 6: Sistema de abastecimiento de agua para las bancadas de turbinas del Laboratorio Hidráulico de la Universidad de Carabobo (UC).

Fuente: Elaboración propia. Adaptado de Márquez y Salazar (2016).

  1. Mantenimiento y pruebas eléctricas en el panel de control y unidad motor del banco de turbinas, implicó solucionar dos hallazgos obtenidos en la etapa de diagnóstico consistente en abundante polvo y sulfatación de conexiones en el panel y banco de resistencias y obstrucción del eje del motor y presencia de polvo. dentro de estos.

  2. Mantenimiento mecánico del grupo de bombeo (bomba axial), basado en los siguientes tres aspectos: presencia de sulfatación de hierro y tierra en el interior de la bomba, atascamiento del eje de la bomba y la hélice y desnivel del eje del acople motor-bomba.

  3. Mantenimiento general de la red de ductos del banco, sustentado en tres observaciones realizadas en la etapa de diagnóstico: empaques de conexión endurecidos y fisurados, presencia de polvo y sulfato de hierro en el interior de los tubos y presencia de fugas hidráulicas en las uniones.

  4. Mantenimiento mecánico de turbinas Kaplan, que implicó corregir las siguientes acciones: eje de turbina, distribuidor, biela y unión de manivela, presencia de sulfato de hierro en el interior de la turbina y ausencia de componentes o partes de la turbina.

  5. Reemplazo e incorporación de instrumentos de control y medición: manómetros, mangueras, válvulas y otros componentes en la bancada de turbina Kaplan. En la etapa de diagnóstico se detectaron las siguientes necesidades: ausencia de dinamómetro, cables, mangueras y válvulas, falta de manómetros y vacuómetros en la entrada y salida de la turbina y bomba, necesidad de instalar manómetros en la placa de orificio y requisitos para una mirilla en la torre de estabilización de flujo.

  6. Mantenimiento de la placa de orificio, grifos, válvula y colocación del banco piezométrico, se encontró desconexión del banco piezométrico agua-aire de la red de ductos que presenta la placa de orificio, presencia de sulfato de hierro y polvo adherido a las caras de las placas de orificio. y oclusión de conexiones para medición de presión y válvulas.

  7. Colocación de tuberı́as y válvulas de control de abastecimiento y drenaje de agua en el banco. Este mantenimiento es necesario debido a que se ha desmantelado la tuberı́a de suministro de agua y drenaje al banco.

  8. Instalación de mirilla en la torre de estabilización: se encontró que no se puede observar el nivel del agua dentro del estabilizador.

  9. Establecimiento del rango de presión de los manómetros y vacuómetros que se utilizarán en el banco, el único manómetro existente en el banco tenı́a un rango (0-160 psi) no acorde a lo esperado a la salida de la turbina (-5 a 5 psi) y se requirieron manómetros y vacuómetros en la bomba y la turbina.


Rehabilitación de banco generador eléctrico de media potencia para conversión de energı́a hidráulica

El banco de pruebas se divide en cuatro subsistemas que involucran (Márquez et al., 2016): a) subsistema de almacenamiento de agua, b) subsistema de distribución de flujo, c) subsistema de turbina Francis, y d) subsistema de turbina Pelton.

  1. Subsistema de almacenamiento de agua: se encontraron paredes del tanque corroı́das debido a la exposición al ambiente sin protección alguna. Se requirió la remoción del material corroı́do y pintura de todas las paredes con pintura anticorrosiva y una capa de pintura esmaltada. Además, el medidor de nivel de agua mostró oclusión del tubo visor debido a restos de sedimentos en el sistema. Fue necesario limpiar el tubo de visualización con tensioactivo.

  2. Subsistema de distribución de flujo: se encontraron cuatro válvulas de compuerta obstruidas en el recorrido de la compuerta debido a la corrosión en el interior de la válvula generando incapacidad para regular el flujo, requiriendo limpieza interna con cepillo de alambre y pintura externa anticorrosión y esmalte.

    La bomba centrı́fuga de distribución de agua presentó alto consumo eléctrico, cables de alimentación a la bomba derretidos y disyuntor defectuoso, debido a un posible cortocircuito, requiriendo reemplazo por una bomba centrı́fuga de similares condiciones de trabajo, reemplazo de los cables por otros nuevos y de mayor calibre y sustitución del disyuntor por uno nuevo de 30 A por lı́nea.

    El sistema de tuberı́a presentó fractura en uno de los manguitos de unión por deterioro de la pieza en PVC debido a agotamiento de la vida útil del mismo y el tiempo en desuso, provocando fuga de agua en la unión, requiriendo reemplazo por un manguito nuevo.

    El piezómetro de mercurio presentó mal funcionamiento de las válvulas selectoras por corrosión y deterioro por desuso, imposibilitando la selección entre una y otra placa orificio requiriendo el reemplazo del sistema por un simple arreglo de válvulas. Ası́ como mal funcionamiento al momento de la medición de flujo, debido a un bajo nivel de mercurio en el reservorio, obteniendo lecturas de flujo erróneas, requiriendo el reemplazo del mercurio.

    Las placas de orificio mostraron ausencia de mangueras, conectores de espiga y abrazaderas, lo que imposibilitó la conexión de las placas con el piezómetro, requiriendo mangueras, conexiones de espiga y abrazaderas nuevas.

  3. Subsistema de turbina Francis, se encontró un sello mecánico estacionario fracturado que causó un mal funcionamiento y manipulación provocando fugas de agua entre el motor-generador y la turbina, requiriendo la fabricación del sello mecánico bajo la muestra original. Los sellos mecánicos se incrustaron en la superficie de contacto del sello mecánico rotativo debido al tiempo en desuso y la exposición al medio ambiente, creando fugas de agua entre el motor-generador y la turbina, lo que requirió lapeado de la superficie de contacto.

    Hubo fricción entre el impulsor y el anillo de desgaste de la caja espiral,por causa de la deformación de las superficies del impulsor y del anillo de desgaste, lo que requirió el mecanizado de ambas piezas en un torno.

    El dinamómetro falló, debido al deterioro del sello del depósito de mercurio, provocando que fuese imposible leer la fuerza de frenado de la turbina Francis, requiriendo la fabricación del sello. El generador DC presentó mal funcionamiento por tiempo en desuso y exposición al medio ambiente, provocando una imposibilidad de generar energı́a eléctrica lo que podrı́a derivar en otras fallas, además de impedir la medición de la fuerza al freno de la turbina, requiriendo el reemplazo del cableado de salida del generador con conexión directa al voltı́metro y amperı́metro.

    Se encontró un disyuntor defectuoso en el panel de control, debido a un posible cortocircuito, provocando la imposibilidad de energizar el panel de control y banco de resistencias, requiriendo el reemplazo del disyuntor por uno nuevo de 30 A por lı́nea.

    El panel de control mostró un cilindro selector del motogenerador defectuoso, imposibilitando la selección del funcionamiento del motogenerador, requiriendo servicio de cerrajerı́a con fabricación de llave nueva.

    El panel de control presentó voltı́metro y amperı́metro defectuosos, debido al tiempo en desuso y exposición al ambiente, imposibilitando la lectura del voltaje y corriente generada, requiriendo reemplazo por nuevos dispositivos.

  4. Subsistema de turbina Pelton, este subsistema forma parte de un mismo banco de pruebas, compartiendo los subsistemas de almacenamiento de agua y distribución de flujo y se describirá en el siguiente subapartado.

Rehabilitación de banco generador eléctrico de alta potencia para conversión de energı́a hidráulica.

El banco de pruebas se divide en tres componentes que involucran (Márquez et al., 2016): a) subsistema de almacenamiento de agua, b) subsistema de distribución de flujo, c) subsistema de turbina Francis, y d) subsistema de turbina Pelton.

  1. El rodamiento trasero presentó ruido al girar debido a la fricción metal-metal, por causa de que un rodamiento trasero en mal estado provocaba un giro escalonado de la turbina, requiriendo reemplazo del rodamiento por uno nuevo.

  2. El manómetro presentó mal funcionamiento provocando daños en los componentes internos debido a la imposibilidad de medir la presión en la entrada de la turbina, requiriendo reemplazo por un manómetro nuevo.

  3. El dinamómetro no existı́a, lo que imposibilitaba medir la fuerza de frenado de la turbina, requiriendo la instalación de un nuevo dinamómetro (escala tipo reloj 0-200 kgf).


Evaluación de ı́ndices de desempeño de generadores eléctricos de alta, media y baja potencia para conversión hidráulica

Evaluación de ı́ndices de desempeño de banco generador eléctrico de baja potencia para conversión de energı́a hidráulica

El diseño de prueba experimental para el sistema de Turbina Kaplan es un diseño factorial multinivel donde hay tres factores experimentales y cinco variables de respuesta. Los factores experimentales (Tabla 3) se componen del ángulo de apertura de las aspas del distribuidor, que está definido por nueve niveles que son 0.0254 m (1 in.), 0.0285 m (1 1/8 in.), 0.03175 m (1 1/4 in.), 0.03492 m (1 3/8 in.), 0.0381 m (1 1/2 in.), 0.0412 m (1 5/8 in.), 0.0444 m (1 3/4 in.), 0.04762 m (1 7/8 in.), 0.0508 m (2 in.); el ángulo de posición de las palas del impulsor que tiene nueve niveles que son -5°, 0°, 5°, 10°, 15°, 20°, 25°, 30°, 35° y la velocidad de rotación del eje de la Turbina Kaplan que presenta seis niveles de estudios que son 200 rpm, 400 rpm, 600 rpm, 800 rpm, 1000 rpm y 1200 rpm. Para un total de combinaciones en los factores igual a 9 x 9 x 6 = 486 pruebas.

Tabla 3: Factores experimentales del diseño de pruebas experimentales en la turbina Kaplan desde el banco de pruebas del Laboratorio Hidráulico de la Universidad de Carabobo (UC).

Factores experimentales Número de niveles Niveles Unidad
Ángulo de posición de las palas del distribuidor (X)

9

1, 1 1/8, 1 1/4, 1 3/8, 1 1/2, 1 5/8, 1 3/4, 1 7/8, 2 in
Ángulo de posición de la pala del impulsor (φ)

9

-5, 0, 5, 10, 15, 20, 25, 30, 35 °
Velocidad de rotación del eje de la turbina Kaplan (N)

6

200, 400, 600, 800, 1000, 1200 rpm

Evaluación de ı́ndices de desempeño de banco generador eléctrico de media potencia para conversión de energı́a hidráulica

El diseño de las pruebas experimentales del sistema de turbina Francis se muestra en la Tabla 4; donde se observan dos (2) factores experimentales (Márquez y Cachinca, 2016): 1) Caudal de entrada (m3/h) y 2) Apertura del distribuidor, para un total de combinaciones en los factores igual a 10 x 2 = 20 pruebas.

Tabla 4: Factores experimentales del diseño de pruebas experimentales en la turbina Francis desde el banco de pruebas del Laboratorio Hidráulico de la Universidad de Carabobo (UC).

Factores experimentales Número de niveles Niveles Unidad
Flujo de entrada

10

11,36; 17,03; 22,71; 28,39; 34,07; 39,74; 45,42; 51,10; 56,78; 62,45; (50, 75, 100, 125, 150, 175, 200, 225, 250, 275) [m3/h], (gpm)
Apertura del distribuidor

2

50%, 100%

Evaluación de ı́ndices de desempeño de banco generador eléctrico de alta potencia para conversión de energı́a hidráulica

El diseño de las pruebas experimentales del Sistema de Turbina Pelton se muestra en la Tabla 5; donde se observan tres (3) factores experimentales (Márquez y Cachinca, 2016): 1) Flujo de Entrada (m3/h), 2) Recorrido del Punzón y 3) Velocidad de Rotación (rpm). El primero se prueba en cuatro niveles. El segundo se prueba en cinco niveles. El tercero se prueba en nueve niveles respectivamente, para un total de combinaciones en los factores igual a 4 x 5 x 9 = 180 pruebas.

Tabla 5: Factores experimentales del diseño de pruebas experimentales en la turbina Pelton desde el banco de pruebas del Laboratorio de Hidráulica de la Universidad de Carabobo (UC).

Factores experimentales Número de niveles Niveles Unidad
Flujo de entrada

4

11, 36; 22, 71; 34, 07; 45, 42; (50, 100, 150, 200)

[m3/h], (gpm)

Recorrido del punzón

5

0,2, 0,4, 0,6, 0,8, 1
Velocidad de rotación del eje de la turbina Pelton (N)

9

400, 500, 600, 700, 800, 900, 1000, 1100, 1200

(rpm)



Elaboración de las curvas de operación para la representación de las variables involucradas en los sistemas Turbina Kaplan, Turbina Francis y Turbina Pelton del Laboratorio Hidráulica UC

Para la elaboración de las curvas caracterı́sticas de operación de los sistemas turbina Kaplan, turbina Francis y turbina Pelton del Laboratorio Hidráulico UC (Márquez y Cachinca, 2016; Márquez et al., 2015), se utilizaron los datos obtenidos de las pruebas experimentales; lo que implicó estimar las variables de respuesta que representan el funcionamiento de una máquina hidráulica, tales como: a) Potencia generada, b) Eficiencia, c) Altura neta disponible, entre otras. Cada una de estas variables de respuesta se graficaron con respecto a los factores experimentales controlados o establecidos durante las pruebas, tales como: Turbinas Kaplan y Francis: a) la apertura del distribuidor, y b) el flujo a través de la turbina. Turbina Pelton: a) velocidad de rotación, b) recorrido del punzón y c) flujo a través de la turbina. De esta forma se obtiene una curva de tendencia de operación de los sistemas de turbinas para cada combinación de estos factores.


Resultados y discusión


Curvas de operación para representar las variables involucradas en el sistema de turbina Kaplan del Laboratorio de Hidráulica UC

Las curvas de operación de la Turbina Kaplan donde se representan las variables de salida del sistema (Figura 7) se obtuvieron aplicando el diseño de las pruebas experimentales. En estas curvas se aprecia el comportamiento del sistema de la Turbina Kaplan ante diferentes condiciones de pruebas.

La Figura 7 representa las curvas caracterı́sticas de la turbina Kaplan para ángulos de apertura de los álabes del impulsor de -5º y 25º respectivamente. En la Figura 7 se puede observar que se lograron eficiencias de hasta el 65 % asociadas a las colinas -5º con velocidades de giro menores a 1200 rpm, y ángulo de apertura del distribuidor de 2 pulgadas. Para una apertura de 25º correspondiente a los alabes del impulsor, a la misma velocidad de rotación del eje de la turbina, los rendimientos fueron menores con una apertura del distribuidor de 1 1/2 pulgadas. Con un ángulo de apertura de 25º de los álabes del impulsor, el sistema funcionó de manera más eficiente que con una apertura de -5º y para grados inferiores de apertura del distribuidor.

En la Figura 8, que representan las curvas en un ángulo de 0º para el ángulo de apertura de los álabes del impulsor. En éste, se obtuvieron colinas de hasta el 95 % de eficiencia que, a 1200 rpm estos rendimientos variaron entre ángulos de apertura del distribuidor de 0.0444 m (1 3/4 in.) y 0.03175 m (1 1/4 in.) en el que se manejaron caudales entre 900 gpm y 1300 gpm. Para ángulo de impulsor de 30º (Figura 7h), los rendimientos también fueron hasta el 95 % a 1200 rpm y velocidades menores se apreció que las colinas de rendimiento están entre 0.0508 m (2 in.) y 0.0381 m (1 1 /2 in.), y estos rendimientos están entre 1250 gpm y 1600 gpm. Gráficamente se observa que con ángulos menores del distribuidor a 0º el sistema es más eficiente que con un ángulo de 30º.

Las curvas con ángulos de apertura del impulsor de 10º (Figura 8d), 15º (Figura 8e) y 20º (Figura 8f) tienen colinas de eficiencia de hasta el 80 %. Las curvas a 10º y 15º tienen colinas muy similares pero la diferencia es mayor. En la curva de eficiencia del 80 % se pudo observar que a caudales menores de 1200 gpm a 15º no se obtuvo este rendimiento, en cambio a 10º varió entre 1100 gpm y 1300 gpm pudiendo observar gráficamente como se cerró la curva debido a que los valores en este desempeño no llegaron a la lı́nea con una apertura de ángulo de distribuidor de 0.0508 m (2 in.). Cabe destacar que a mayores velocidades de giro y menor apertura del distribuidor el sistema con una apertura de 20º es más eficiente que con aperturas de 10º y 15º.

Al analizar las curvas a 5º de apertura del impulsor (Figura 7c) se observa que las colinas de desempeño que se graficaron comienzan y terminan en una apertura de 0.0508 m (2 in.) del distribuidor. Con respecto a las curvas a 35º (Figura 9i), se observa que las relacionadas con colinas de desempeño que fueron generadas a una velocidad de 1200 rpm, no llegan a una apertura del impulsor de 0.0444 m (1 3/4 in.). Es por esto que se afirma que a 35º el sistema se comporta de manera más eficiente que con una apertura de 5º.

Curvas de operación para representar las variables involucradas en el sistema de turbina Francis del Laboratorio de Hidráulica UC

Los resultados de la operación del sistema de turbina Francis del Laboratorio Hidráulico UC se describen a través de las siguientes cuatro variables (Márquez y Cachinca, 2016; Márquez et al., 2015): 1) Energı́a Eléctrica Generada, 2) Carga neta entregada por el fluido a la turbina, 3) Velocidad de rotación, y la 4) Eficiencia de la turbina. Estas variables se estudian respecto a los factores experimentales controlados durante las pruebas realizadas a la turbina, que son el caudal de entrada y la apertura del distribuidor de entrada.

Caudal frente a velocidad de rotación del sistema de turbina Francis del Laboratorio Hidráulico UC

En la Figura 10a se muestra el aumento en la velocidad de rotación al aumentar el flujo de entrada a la turbina, en el mismo gráfico se muestran dos curvas, y cada una corresponde a un valor de apertura del distribuidor de entrada. El aumento en la velocidad de rotación se genera porque a mayor flujo de entrada mayor energı́a se proporciona a la turbina y esta la convierte en energı́a motriz.

Caudal contra altura neta del sistema de turbina Francis del Laboratorio de Hidráulica de la UC

La Figura 10b muestra la variación de la carga neta suministrada a la turbina dependiendo del flujo de entrada y la posición del distribuidor de la turbina. Se puede observar que a mayores caudales, mayor es la carga neta que se genera debido a que al tener un mayor volumen de fluido circulando por una misma zona aumentan las presiones de entrada y las velocidades del fluido. Además, también se puede observar que para una menor apertura del distribuidor se puede obtener una mayor carga porque se restringe la entrada, lo que provoca un aumento en la velocidad y presión de entrada del fluido.

Figura 7: Curva caracterı́stica de turbina Kaplan para ángulos de posición de palas del impulsor de a) -5º, b) 0° y c) 5° del banco de pruebas del Laboratorio de Hidráulica de la Universidad de Carabobo.

Fuente: Elaboración propia. Adaptado de Márquez et al. (2015).

Figura 8: Curva caracterı́stica de turbina Kaplan para ángulos de posición de las palas del impulsor de d) 10°, e) 15° y f) 20° desde el banco de pruebas del Laboratorio de Hidráulica de la Universidad de Carabobo (UC).

Fuente: Elaboración propia. Adaptado de Márquez et al. (2015).

Figura 9: Curva caracterı́stica de turbina Kaplan para ángulos de posición de las palas del impulsor de g) 25°, h) 30° y i ) 35° desde el banco de pruebas del Laboratorio de Hidráulica de la Universidad de Carabobo (UC).

Fuente: Elaboración propia. Adaptado de Márquez et al. (2015).

Caudal frente a la energı́a eléctrica generada por el sistema de turbina Francis del Laboratorio de Hidráulica UC

En la Figura 10c se puede observar el aumento de la potencia eléctrica con respecto al flujo, esto ocurre ya que como se mencionó anteriormente, a mayor flujo de entrada, mayor carga neta se entrega a la turbina, lo que produce un aumento en la potencia útil que la turbina puede generar. En el caso del sistema de turbina Francis del Laboratorio Hidráulico UC, esta potencia útil se traduce directamente en energı́a eléctrica debido al generador y al sistema eléctrico que lleva acoplado.

Caudal versus eficiencia obtenido del sistema de turbina Francis del Laboratorio Hidráulico de la UC

La Figura 10d muestra la eficiencia con respecto al flujo de entrada del sistema de turbina Francis del banco de pruebas del Laboratorio de Hidráulica de la UC. El gráfico muestra que para mayores flujos de entrada la eficiencia de la turbina tiende a aumentar.

Figura 10: a) Curvas de flujo contra velocidad de rotación obtenidas en el banco de pruebas de turbina Francis. b) Caudal contra altura neta obtenido en banco de pruebas de turbina Francis, c) Caudal contra. Energı́a eléctrica obtenida en el banco de pruebas de turbinas Francis, d) Caudal contra eficiencia obtenido en banco de pruebas de turbina Francis.

Fuente: Elaboración propia. Adaptado de Márquez y Cachinca (2016).


Las variables que describen el funcionamiento del sistema de turbina Pelton del Laboratorio de Hidráulica UC son (Márquez y Cachinca, 2016) la potencia de frenado generada, la carga neta entregada por el fluido a la turbina y la eficiencia obtenida de la turbina. Cada uno de estos factores se estudia respecto a las variables que se pueden controlar durante el ensayo, como son, el recorrido del punzón, la velocidad de rotación de la turbina y el caudal de entrada a la turbina.

Caudal versus velocidad de rotación del sistema de turbina Pelton del Laboratorio de Hidráulica UC

En la Figura 11a se puede observar la variación de la velocidad de rotación con respecto al aumento del flujo de entrada a la turbina. Esto es congruente con el funcionamiento teórico de una turbina, indicando que cuanto mayor es el caudal de entrada y la altura del agua, más energı́a se entrega a la turbina, la cual se transforma en energı́a mecánica en la forma de velocidad angular en el eje acoplado al rotor de la turbina.

Curva de caudal versus altura neta del sistema de turbina Pelton del Laboratorio de Hidráulica de la UC

La Figura 11b muestra cómo la altura neta disponible para la acción de la turbina aumenta dependiendo del aumento en el flujo de entrada de la turbina. Ası́ mismo, se puede observar que para recorridos más largos del punzón es posible obtener datos a mayores caudales, lo que resulta en curvas con pendientes menos pronunciadas. Esta gráfica está hecha únicamente con los datos de las pruebas en las que hay una velocidad de giro de 400 rpm, debido a que es la velocidad a la que para cada combinación de los diferentes niveles de flujo y recorrido del punzón es posible obtener suficientes puntos de carga neta para generar una curva (Márquez y Cachinca, 2016).

Velocidad de rotación versus curvas de potencia de frenado del sistema de turbina Pelton del Laboratorio de Hidráulica UC

En las Figuras 11c-11f se puede observar cómo varı́a la potencia en el eje de la turbina Pelton dependiendo de la velocidad de su rotación, ası́ mismo se pueden comparar las potencias obtenidas y la cantidad de datos recolectados dependiendo del flujo que se suministra a la turbina, donde se observa que es evidente que para un mayor caudal existe la posibilidad de girar la turbina a mayores revoluciones y aplicar una mayor fuerza de freno en el eje, esto involucra mayor potencia en el eje de la turbina incluso para recorridos del punzón más largos a los que pueden lograse a caudales más bajos.

Velocidad de rotación versus eficiencia del sistema de turbina Pelton del Laboratorio de Hidráulica de la UC

En las Figuras 12g-12i se presentan las curvas en las que se puede observar cómo varı́a la eficiencia según la velocidad de rotación de la turbina dependiendo de las diferentes aperturas de los inyectores de entrada y los diferentes caudales de entrada con los que fueron tomados los datos del experimento. Es importante señalar que ası́ como a mayores caudales se obtiene una mayor potencia de freno, la eficiencia también tiende a aumentar con el aumento del caudal que circula por la turbina.

Figura 11: a) Caudal frente a velocidad de rotación del sistema de turbina Pelton del Laboratorio Hidráulico de la UC, b)Caudal contra curva de altura neta del sistema de turbina Pelton del Laboratorio de Hidráulica de la UC, c) Velocidad de rotación contra potencia de frenado bajo un caudal de 200 gpm, d) Velocidad de rotación contra potencia de frenado bajo un caudal de 150 gpm, e) Velocidad de rotación contra la potencia de frenado bajo un caudal de 100 gpm, f) Velocidad de rotación contra la potencia de frenado bajo un caudal de 50 gpm.

Fuente: Elaboración propia. Adaptado de Márquez y Cachinca (2016).

Figura 12: g) Velocidad de rotación versus eficiencia bajo un caudal de 200 gpm , h) Velocidad de rotación versus eficiencia bajo un caudal de 150 gpm , i ) Velocidad de rotación versus eficiencia bajo un caudal de 100 gpm , j) Velocidad de rotación contra eficiencia bajo un caudal de 50 gpm.

Fuente: Elaboración propia. Adaptado de Márquez y Cachinca (2016).


Conclusiones

La determinación de las caracterı́sticas de operación de la turbina Kaplan nos permitió conocer cuáles son los parámetros que influyen en el comportamiento de este tipo de turbina y establecer los rangos en los que opera cada parámetro en el sistema de Turbina Kaplan perteneciente al Laboratorio de Hidráulica “Elı́as Sánchez Dı́az” de la Escuela de Ingenierı́a Civil de la Universidad de Carabobo. El diseño factorial multinivel se utilizó en el diseño de pruebas experimentales para el sistema de turbina Kaplan, logrando estudiar los diferentes niveles que tiene cada factor experimental a través de todas las combinaciones posibles de os niveles de cada factor, al hacer uso de este diseño se pudo obtener la influencia de cada factor en las variables de respuesta, determinando que el ángulo de posición de las aspas del distribuidor como factor experimental tiene un mayor efecto en las variables de respuesta estudiadas.

Los resultados del diseño de las pruebas experimentales han permitido conocer las condiciones que influyen en el funcionamiento de cada turbina y establecer los rangos de regulación de cada parámetro en los sistemas de turbina Francis y turbina Pelton pertenecientes al laboratorio de hidráulica “Elı́as Sánchez Dı́az” de la Universidad de Carabobo. El diseño factorial ha dado lugar a 7 pruebas experimentales sobre el Sistema de Turbina Francis y 65 pruebas experimentales sobre el sistema de turbina Pelton. En ambas turbinas el factor que más influye en el funcionamiento y generación de energı́a es el caudal suministrado; que varió en el primer sistema entre 100 y 275 gpm; mientras que en el segundo sistema varió entre 50 y 250 gpm.


Disponibilidad de datos

Los datos que sustentan los hallazgos de este estudio se encuentran disponibles en el repositorio institucional de la Universidad de Carabobo a través de las siguientes tesis de pregrado aprobadas: Márquez y Salazar (2016), Márquez et al. (2015), Márquez et al. (2016) y Márquez y Cachinca (2016).


Referencias

Márquez, A., y Cachinca, J. (2016). Evaluación del funcionamiento de los sistemas turbina Francis y turbina Pelton del laboratorio de hidráulica, Escuela de Ingenierı́a Civil, Universidad de Carabobo [Tesis de licenciatura]. Universidad de Carabobo. http://riuc.bc.uc.edu.ve/handle/123456789/8440

Márquez, A., Garcı́a, J., y Pacheco, M. (2015). Evaluación de la operación del sistema de turbina Kaplan en el laboratorio de hidráulica “Elı́as Sánchez Dı́az” de la Escuela de Ingenierı́a Civil de la Universidad de Carabobo [Tesis de licenciatura]. Universidad de Carabobo. http://riuc.bc.uc.edu.ve/handle/123456789/8441

Márquez, A., Martı́nez, I., y Uzcátegui, J. (2016). Rehabilitación del sistema de turbina Francis-Pelton del laboratorio de hidráulica de la Escuela de Ingenierı́a Civil de la Universidad de Carabobo [Tesis de licenciatura]. Universidad de Carabobo. http://riuc.bc.uc.edu.ve/handle/123456789/8437

Márquez, A., y Salazar, I. (2016). Propuesta para la reactivación de los bancos de turbinas Kaplan, Pelton y Francis en el laboratorio de hidráulica “Elı́as Sánchez Dı́az” de la Escuela de Ingenierı́a Civil - UC [Tesis de licenciatura]. Universidad de Carabobo. http://riuc.bc.uc.edu.ve/handle/123456789/8438

Mataix, C. (1975). Turbomáquinas hidráulicas. Turbinas hidráulicas. Bombas. Ventiladores. Editorial ICA.

Mataix, C. (1986). Mecánica de fluidos y maquinas hidráulicas. (2da Ed.). Ediciones del Castillo, S.A.

Ministerio del Poder Popular para la Energı́a Eléctrica. (2024). MPPEE homologa metodologı́a de cálculos de indicadores para mitigar los efectos del cambio climático. Prensa MPPEE. http://mppee.gob.ve/?p=87464

Observatorio Regional de Planificación para el Desarrollo de América latina y el Caribe. (2024). Plan de la Patria 2109-2025 de Venezuela. https://observatorioplanificacion.cepal.org/es/planes/plan-de-la-patria-2019-2025-de-venezuela